GJ41X手动管夹阀
- 销售:
- 销售:
- 传真:
详情介绍
- 产品介绍
- 服务承诺
- 订货流程
GJ41X手动管夹阀又名铝合金夹管阀,铝合金胶管阀,由左右铝合金阀体,橡胶管套、大小阀杆、上下闸板、导柱等零件组成。耐磨、防腐、抗冻、密封性能好,只须更换胶套即完好如新,阀体使用寿命是普通阀门的4-6倍。驱动方式有手动、气动、电动等多种方式,也可按客户需求定制非标产品。
工作原理
当顺转手轮时,使大小阀杆同时带动上下闸板,压缩管套,进行关闭,反转即行开启,这样,闸板在导柱之间上下往复完成阀门开闭工作。另外,因橡胶管套承力,因此在开关时,操作人员旋转手轮时只要感到适量抵触,均己达到开闭点, 切勿尽力或多人辅助,禁用其他工具开闭。
主要技术参数
适用范围:化工,石油、发电、碱厂、选矿、水泥、选煤、非金属等行业,可快速控制管路浓度砂粒状流量与截止。
2.使用介质:纸浆、污水、矿渣、煤渣、泥沙等。
3.适用温度:-30-85,更高温度另行定制。
4.公称压力:-0.3-2.5Mpa(定货说明)。
5.法兰执行标准:(JB/80-91)。

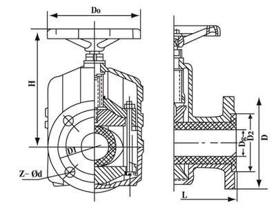
主要外形连接尺寸
DN(mm) | L | B | H | Do | Dn | D | D1 | d | Z | F | 连接方式 |
25 | 99 | 14 | 126 | 100 | 25 | 100 | 78 | 11 | 4 | 2.5 | 法兰 |
32 | 125 | 14 | 144 | 100 | 30 | 120 | 90 | 12.5 | 4 | 2.5 | 法兰 |
40 | 146 | 16 | 165 | 125 | 38 | 130 | 100 | 13.5 | 4 | 2.5 | 法兰 |
50 | 190 | 18 | 190 | 165 | 50 | 160 | 125 | 18 | 4 | 3 | 法兰 |
65 | 235 | 18 | 200 | 190 | 65 | 180 | 145 | 18 | 4 | 3 | 法兰 |
80 | 290 | 20 | 207 | 200 | 80 | 195 | 160 | 18 | 4 | 3 | 法兰 |
100 | 370 | 20 | 228 | 250 | 96 | 215 | 180 | 18 | 8 | 5 | 法兰 |
125 | 445 | 22 | 260 | 520 | 120 | 245 | 210 | 18 | 8 | 5 | 法兰 |
150 | 490 | 24 | 340 | 320 | 145 | 280 | 240 | 20 | 8 | 5 | 法兰 |
200 | 550 | 24 | 429 | 400 | 195 | 335 | 295 | 20 | 12 | 5 | 法兰 |
250 | 620 | 26 | 512 | 400 | 245 | 405 | 335 | 22 | 12 | 7.5 | 法兰 |
300 | 810 | 28 | 595 | 500 | 295 | 460 | 410 | 22 | 12 | 7.5 | 法兰 |
良好的品质、优良的服务 吉林宇轩法律服务有限公司为你创造更多价值!
“吉林宇轩法律服务有限公司”的期望,不断提升服务质量,精益求精,“真诚的服务”是“吉林宇轩法律服务有限公司”永恒的主题。“吉林宇轩法律服务有限公司”严格按照IS09001-2000 质量体系认证要求,质量严格把关, 责任到人,确保生产、销售、服务的健康运行。加强与用户沟通,竭诚为广大客户提供优良产品,至善至美服务。特此我厂做出以下承诺:
产品标准:
产品严格按照中国GB、HG 标准和美国API等标准设计、制造、验收。密封面硬度达到国家规定要求,宽度超过国家标准。
售前服务:
产品介绍,技术交流,非标产品设计,疑难解答。
售中服务:
守信合同,保证及时供货,随时保持与客户联系。 对特殊或复制的产品,我厂安排技术人员对用户进行产品使用、故障排除
售后服务:
1、“吉林宇轩法律服务有限公司”牌产品品质期为自出厂起12个月,实行“三包”服务(包退、包换、保修)。
2、产品在使用中我厂定期组织技术、质检人员进行访问,征询用户对产品质量、 使用状况、改进意见等方面的反馈, 以便进一步提高产品质量。
3、对用户投诉质量问题,快速作出反应,售后服务人员在24-36小时(省外48小时)赶赴现场。
4、对售后服务,要求用户填写服务后的质量反馈信息表,并作出鉴定意见,以便提高吉林宇轩法律服务有限公司的服务质量。
1、客户如对产品有特殊要求,须在订货合同中提供以下说明:
a、结构长度;
b、连接形式;
c、公称直径、全通径、缩径、管道尺寸;
d、运行介质及温度、压力范围;
e、试验、检验标准及其他要求
2、本厂可根据客户特定要求配置各类驱动装置。
3、如由客户提供确定的阀门类型和型号时,客户应正确说明其型号的含义和要求,在供需双方理解一致的条件下签订合同。
4、期货、订货的客户请先来电函详细告诉所需的阀门型号、规格、数量以及交货时间、地点,并按总的30%预定金或全额货款及时汇入我厂帐户,其余货款待发货前汇入,以便及时安排发货。
订单流程:
1、客户采购清单传真至,或来电咨询
2、收到客户采购清单,为客户提供阀门型号选型与报价(价格清单)。
3、具体商定:交货期、特殊要求等事宜。
订货须知:
1、客户如对产品有特殊要求,须在订货合同中提供以下说明:
|
|||||
|
|||||
2、本厂可根据客户特定要求配置各类驱动装置。
|
|||||
3、如由客户提供确定的阀门类型和型号时,客户应正确说明其型号的含义和要求,在供需双方理解一致的条件下签订合同。
|
|||||
4、期货、订货的客户请先来电函详细告诉所需的阀门型号、规格、数量以及交货时间、地点,并按总的30%预定金或全额货款及时汇入我厂账户, 其余货款待发货前汇入,以便及时安排发货。
|
售中服务:
守信合同,保证及时供货,随时保持与客户联系。
对特殊或复制的产品,我厂安排技术人员对用户进行产品使用、故障排除
售后服务:
1、“吉林宇轩法律服务有限公司”产品品质期为自出厂起12个月,实行“三包”服务(包退、包换、保修)。
2、产品在使用中我厂定期组织技术、质检人员进行访问,征询用户对产品质量、使用状况、改进意见等方面的反馈,
以便进一步提高产品质量。
3、对用户投诉质量问题,快速作出反应,售后服务人员在24-36小时(省外48小时)赶赴现场。
4、对售后服务,要求用户填写服务后的质量反馈信息表,并作出鉴定意见,以便提高“吉林宇轩法律服务有限公司”的服务质量。
声明 |
|